Nicam ( lub jego pełna nazwa Nicam 728 - Near
Instantenous Companded Audio Multiplex) był opracowywany we wczesnych latach 80
przez BBC . Początkowo został zaaplikowany do brytyjskiego " systemu I
" 625 linii PAL telewizji kolorowej , a premierowa audycja została nadana
w 1986r. Od tego czasu system ten był
nieznacznie modyfikowany ,aby umożliwić współpracę z systemem PAL B/G
stosowanym w większej części kontynentalnej Europy . Zademonstrowano również
możliwość współpracy z Systemu D / K
używanym w krajach Wschodniej Europy , i z Systemem L używanym w Francji .
Teoretycznie, NICAM mógłby pracować z 525 liniowymi systemami M i N stosowanymi
w Ameryce , Kanadzie i Japonii .
Nicam nie jest pierwszym systemem
dźwięku stereo / bliźniaczy mono z używanych w Europie . Niemieccy uczeni
opracowali system znany jako " A2
" lub " Zweiton " w roku 1975.
Dodaje oni dodatkową nośną dźwięku FM do Systemu B / G o częst. 5 .
7421875 Mhz ( w dodatku do standardowej pierwszej 5.50MHz ) . W trybie stereo
nośna 5.50MHz przenosi sumę stereo , a 5.74MHz
przenosi stereo-prawo. Dzięki temu ludziom posiadającym stare odbiorniki
TV z pojedynczym kanałem dźwięku zapewniono odbiór dźwięku mono . W
bliźniaczym-mono trybie (" Zweiton " ), każdy kanał przenosi
niezależne sygnały .
System
" A2 " ma raczej mały stosunek sygnału do szumu , a dodatkowo
występują tu zwykłe kłopoty z zapewnieniem zbieżności pracy modulatora i
demodulatora FM . Dodatkowo wykorzystuje szerokie pasmo częstotliwości .
Natomiast Nicam oferuje całkowicie odmienne podejście , zapewniając zupełnie
nową cyfrową stereo/bliźniaczą mono jakość ,występuje jednocześnie ze standardowym
dźwiękiem FM. Teoretycznie, Nicam mógłby zapewnić nadawanie audycji w trzech
językach : dźwięk FM + Nicam ( w bliźniaczym mono-trybie ) .
W chwili obecnej, z niewielkimi
zmianami przystosowawczymi NICAM stosowany jest praktycznie na całym świecie.
Studio nagraniowe dostarcza
lewy i prawy kanał dźwięku, które są najpierw poddane procesowi preemfazy i
przekazywane do przetwornika A/C, który wytwarza 14-bitowe próbki z częstotliwością
32kHz. Te próbki dostarczane są do „kompresora”, który redukuje je do
10-bitowych wyciągając 10 najbardziej znaczących bitów, a resztę odrzucając.
Na
tym etapie dodawany jest bit błędu, dla sprawdzenia i korekcji błędów w odbiorniku.
W kolejnym etapie zwanym „przeplataniem”( ang. Interleaving) bity te są „tasowane jak talia kart”, (w celu rozdzielenia błędów transmisji lub zakłóceń, kiedy oryginalny porządek bitów jest odtwarzany na końcu odbiornika), po czym następuje „skramblowanie” (bełtanie), poprzez dodanie do „przeplecionych” danych losowo wygenerowanego łańcucha danych. Dzięki temu wstęgi boczne transmitowanego sygnału nie są zbyt silne i nie powodują zakłóceń w zajmowanym przez siebie paśmie.
Następnie przebiega modulacja. W
Wielkiej Brytanii nośna NICAM wynosi
6.552 MHz w Polsce 5,85MHz. Jest to modulacja fazowa wykorzystująca system
DQPSK. Dla sygnałów cyfrowych modulacja fazowa jest ekonomiczna ze względu na
szerokość pasma co jest ważnym czynnikiem, kiedy próbujemy wcisnąć inny sygnał
do już istniejącego pasma TV. Nośna NICAM jest dodawana do nośnej FM 6MHz
dostarczanej do nadajnika, gdzie dołącza się do nośnej wizji (na poziomie –20dB
odpowiednio do poziomu szczytu nośnej wizji), na jego drodze do anteny nadawczej.
W
odbiorniku tuner przemienia nośną NICAM’u na pośrednią częstotliwość 32,96MHz.
Sygnał p.cz jest demodulowany i filtrowany w celu wykorzystania przez pierwszy
blok dekodera NICAM – demodulatora DQPSK.
Sygnał
NICAM „wyłania” się zatem jako strumień danych, następnie przechodzi serię procesów,
które to przywracają pierwotny sygnał ze stacji nadawczej:
·
deskramblowanie,
które wyciąga ze strumienia danych te dodane losowe dane, które służyły do zawężenia
pasma przenoszenia.
·
deinterleaving-
za pomocą „książki kodowej” umieszczonej w pamięci.
W
rezultacie otrzymujemy oryginalne 10+1 bitowe słowa we właściwym porządku.
Słowa
te są następnie rozszerzane do 14 bitów za pomocą współczynnika skal, nadawanego
razem z danymi. Następnie przeprowadzana jest korekcja błędów w oparciu o bity
parzystości. Na końcu procesu dekodowania otrzymujemy strumień danych zawierających
informację zarówno dla lewego jak i prawego kanału.
Pozostaje
zatem zamienić te dane z powrotem na formę analogową, używając przetwornika
C/A, a następnie poddać uzyskany sygnał filtracji i wzmocnieniu.
Parametry:
NICAM 728 |
||
|
|
Nośna 1 |
Nośna 2 |
|
Częstotliwość nośnej fonii |
Fw + 6 (6,5) MHz |
Fw + 6,552 (5,85) MHz |
|
Różnice poziomów mocy fw i f f |
13 dB |
20 dB |
|
Rodzaj modulacji |
FM |
DQPSK |
|
Zawartość kanału |
Mono |
mono/stereo/dwa dźwięki |
|
Prędkość transmisji |
- |
728 kbit/s |
|
Filtracja zespolonego syg. cyfrowego |
- |
40 % |
|
Częst. próbkowania sygnału audio |
- |
32 kHz |
|
Szerokość pasma sygnału audio |
40 Hz do 15 kHz |
40 Hz do 15 kHz |
|
Wartość preemfazy |
50 ms |
J17 , CCITT |
1)
preemfaza

Żaden nadawany sygnał wizyjny lub dźwiękowy nie może obejść się bez układów preemfazy, które podwyższają wysokie częstotliwości sygnału. W odbiorniku natomiast stosuje się deemfazę, która obniża poziom wyższych częstotliwości redukując jednocześnie dzięki temu wytłumienie szumów.
W NICAM’ie używa się preemfazy CCITT J17 z tłumieniem 6,5dB przy 800 Hz przedstawionej na charakterystyce powyżej.
2)
Próbkowanie
Przebiega z częstotliwością 32kHz. Aby
zabezpieczyć się przed „schodkowaniem”
(które występuje gdy niższe wstęgi boczne częstotliwości próbkowania pokrywają
się z górnymi częstotliwościami pasma audio) i zniekształceniami, ograniczenie
górnej częstotliwości audio musi być utrzymane na poziomie połowy lub poniżej
częstotliwości próbkowania (np. przy lub poniżej 16kHz). W tym celu wprowadza
się do lewego i prawego kanału filtry dolnoprzepustowe o fr =15kHz.
3)
Kompresja
14-bitowe próbki są zmniejszane do 10-bitowych w celu zachowania pasma przenoszenia. Znaczenie każdego bitu w słowie zależy od poziomu dźwięku reprezentowanego przez dane słowo. Najmniej znaczący bit w słowie może wywierać wpływ na ostateczny sygnał tylko w jednej części na około 16000. Może to być znaczące przy cichych, delikatnych przejściach, tak nie odgrywa roli przy bardzo głośnych sygnałach lub bardzo gwałtownych przejściach.
MSB 14 (od lewej) jest niezmieniany. 13 jest usuwany jeśli jest taki sam jak 14 bit. 12 jeśli taki sam jak 13 i tak dalej do 10 bitu. Dzięki temu uzyskujemy słowa o długości od 10 do 14 bitów. Jeśli słowo ma więcej jak 10 bitów nadmiarowe ich numery są usuwane do uzyskania słowa 10 bitowego. Sygnał cyfrowy został skompresowany i jak długo dekompresor wie co robi kompresor, może on rozszerzyć słowa do 14 bitowych .
Największa
próbka bity wsp.skali Transmitowane bity
B13...........B0 R2 R1
R0 B13...........B0
01XXXXXXXXXXXX 1 1
1 YYYYYYYYYYNNNN
001XXXXXXXXXXX 1 1 0
YNYYYYYYYYYNNN
0001XXXXXXXXXX 1 0 1
YNNYYYYYYYYYNN
00001XXXXXXXXX 0 1 1
YNNNYYYYYYYYYN
000001XXXXXXXX 1 0 1
YNNNNYYYYYYYYY
4)
ZABEZPIECZENIA
I WSPÓŁCZYNNIK SKALI
Konieczne jest dodawanie do sygnału
cyfrowego pewnych zabezpieczeń przed możliwymi błędami w transmisji. Do tego
celu dodawany jest bit parzystości na koniec każdego słowa. Jest on
wykorzystywany w dekoderze do sprawdzenia warunku parzystości dla 6 najbardziej
znaczących bitów słowa.
Mamy teraz zabezpieczone 11-bitowe
słowo. Musimy teraz wysłać dekoderowi współczynnik skali, by wskazać które bity
były usunięte w procesie kompresji. Jeśli utracone bity znajdują się po lewej
stronie przedstawionego schematu to wsp. skali umożliwi ich odtworzenie; jeśli
zaś znajdują się po prawej stronie są utracone na zawsze, jednak nie jest to
istotne odkąd słowa których są częścią nie są decydującymi z punktu widzenia
szumów.
Kolejne spojrzenie na diagram ukazuje, że 10 bitową rozdzielczość nadano wielkim sygnałom (zakres kodowy 1), 11-bitową rozdzielczość zastosowano w zakresie kodowym 2, 12-bit w zakresie 3, 13-bit w 4 i 15-bit w zakresie kodowym 5, który odpowiada najcichszym dźwiękom. Ten „progresywny” system kodowania jest bardzo efektywny i daje ekonomiczną szerokość pasma w porównaniu z liniowym systemem kodowania.
Dla celów skalowania 11 bitowe(10+1)
słowa są grupowane w bloki zawierające 32 słowa. Każdy blok trwa 1ms. Z każdym
blokiem jest wysyłane 3-bitowe słowo kodowe jako wskaźnik skalowania. Występuje
tu oczywiście pewien stopień niedokładności.
Tylko jedna informacja skalowania jest
wysyłana na 32 postępujące po sobie słowa.
Niektóre słowa nie otrzymują
optymalnego rozszerzenia. W rzeczywistości wsp. skali informuje dekoder o
największej próbce w bloku. Ta aproksymacja zwiększa oczywiście szumy w ostatecznym
sygnale dźwiękowym, lecz ten szum zawsze pojawia się w tam, gdzie „zajętość”
sygnału wycisza go lub maskuje. Współczynnik skali pojawia się wystarczająco
często dla najszybszych rozróżnianych przejść głośności które powinny być
wychwycone – jest to klucz do subiektywnego zredukowania szumów. Ta
charakterystyka „biegnącej aproksymacji” daje systemowi pierwsze dwa słowa jego
nazwy: „NEAR INSTANTENOUS” (prawie natychmiastowy). Ten średni błąd jest
prawie niezauważany przez słuchacza.
Teraz przejdziemy do najważniejszego –
sposobu w jakim jest przesyłany wsp. skali. W rzeczywistości nie jest on
dodawany do całego ciągu danych, gdyż wykorzystuje bity parzystości. Dokonuje
się tego poprzez zmianę polaryzacji tych bitów zgodnie ze specjalną tabelą
zawartą zarówno w nadajniku jak i odbiorniku. Dekoder odbiornika wyciąga
3-bitowe słowo wsp. skali używając tzw. logikę decyzji większościowych – proces
ten jednocześnie odtwarza oryginalną parzystość wzoru.
Jest 5 różnych wzorów kompresji, każdy związany z zakresem liczb 1..5 zakresu kodowego. Tabela poniżej przedstawia jak 3 bitowe słowo kodowe przenosi informację o współczynniku skali.
|
Zakres kodowy |
Zakres ochrony |
Współczynnik skali |
|
1 2 3 4 5 5 5 5 |
1 2 3 4 5 6 7 7 |
111 110 101 100 011 010 001 000 |
Trzy
bity współczynnika skali mogą dać 8 kombinacji. Jak pokazano niektóre z „zapasowych”
są użyte aby sygnalizować dekoderowi ilość użytych zabezpieczeń przed błędami
przez każdą próbkę. Może to być wykorzystane w odbiorniku by zapewnić dodatkową
ochronę dla najbardziej znaczących bitów próbek.
5)
INTERLEAVING (Przeplatanie)
NICAM zapewnia zadawalającą ochronę poprawności transmisj. Jednak zakłócenia o charakterze impulsowym i podobne, mogą wywoływać wielkie dziury w strumieniu danych. Wymusza to zastosowanie układów korygujących błędy w odbiorniku. Ich działanie sprowadza się do zapisywania danych do pamięci a następnie odczytywania ich niesekwencyjnie, wstawiając pomiędzy pierwotnie graniczące bity co najmniej piętnaście innych bitów, a porządek tego przemieszania określony jest w pamiąci ROM sekwencera adresującego, który to we właściwy sposób odczytuje RAM. Więc bity w oryginalnym porządku 0, 1, 2 ... 703, będą transmitowane np. tak 0, 44, 88, ..... 659, 703 itd. . Wystąpienie błędu w przesyłanej ścieżce danych może zepsuć kilka kolejnych bitów w transmitowanym strumieniu . Ale jeśli błąd jest rozdzielony pośród kilku słów, szkoda dla każdego jest mniejsza . Błąd taki może być naprawiony przez korekcję równości i / albo ukrycie błędu jeśli było by to konieczne.
6)
FORMAT RAMKI
Transmitowane
dane są zawarte w 728-bitowych ramkach. Długość ramki wynosi 1 ms w związku z
czym prędkość transmisji wynosi 728kb/s. Nie ma żadnych szczelin pomiędzy
ramkami.
Pierwsze
24 bity ramki to dane inicjujące. Blok ten składa się z następujących części:
1)
słowa
wyrównania ramki FAW (Frame Aligment Word)- które synchronizuje i ustala proces
dekodowania w odbiorniku. Zawiera 8 bitów i zawsze ma postać 01001110.
2)
Bitów
kontroli informacji CI (Control Information) CI0-CI4 - które są używane do sterowania i przełączania dekodera. CI0
jest ustawiony na 1 dla 8 postępujących po sobie ramek i na 0 dla następnych 8
ramek. Ten niezmienny wzór definiuje 16 ramkową sekwencję i jest używany do
synchronizacji zmian typów przenoszonych informacji do (identyfikowania "
nieparzystych " i " parzystych " paczek NICAM ). CI1-CI3 to bity
„trybu” mówiące dekoderowi co powinien zrobić z ładunkiem użytecznym (pozostałe
704 bity ramki):
0 0 0
Sygnał stereo z następującymi kolejno próbkami kanału L i P
0 1 0
Dwa niezależne kanały mono z następującymi kolejno ramkami
1
0 0 Jeden kanał mono i danych
wysyłanych w następujących kolejno ramkach
1 1 0
Jeden kanał danych.
Jak widać CI3 pozostaje niezmienny. Jest ustawiony
na 1 wtedy gdy kanał NICAM przenosi ten sam dźwięk co główny kanał FM i 0 w
przeciwnym wypadku. Mówi dekoderowi ,czy dźwięk TV FM może być używany w trybie
awaryjnym tj. gdy sygnał NICAM zawodzi .
3)
11
bitów dodatkowych danych AD0-AD10 (Additional Data) – które w chwili obecnej są
nieużywane i zarezerwowane dla dodatkowych danych.
Pozostałe
704 bity ramki przenoszą właściwe dane i tylko ta część poddana jest „przeplataniu”.
W trybie stereo blok ten zawiera
sześćdziesiąt cztery 11-bitowe próbki kanału A (stereo L) i kanału B (stereo P)
wysyłane przemiennie po 32 dla każdego kanału w ciągu okresu.
Odkąd dwa kanały dźwięku + dane
inicjujące są transmitowane jako pojedynczy szeregowy łańcuch danych, szybkość
transmisji bitów w każdym kanale podwaja się. Ta forma czasowej kompresji jest
znana pod nazwą TDM (Time Division Multiplex – powielanie podziału
czasu). Polega ona na wpisaniu danych do RAM w czasie rzeczywistym i odczyt ich
w określonych odstępach.
W trybie mono + dane blok danych jest
całkiem różny jak w stereo. W tym wypadku dwa 32 wyrazowe bloki (n i n+1) są
rozmieszczone od początku do końca ramki i przenoszą kompletny sygnał mono.
Kolejna ramka przenosi dane. I tak nieparzyste ramki przenoszą 2 ms dźwięku
mono a parzyste 704 bity danych.
W trybie podwójne mono 2 ms dźwięku kanału M1 są przenoszone przez nieparzyście numerowane ramki, a 2 ms dźwięku kanału M2 przez parzyste.
7)
Scramblowanie
Energia we wstęgach bocznych nośnej NICAM może być wyrównywana przez scramblowanie (bełtanie, mieszanie) danych na chybił trafił . Całkowita przypadkowość bitów nie jest jednak możliwa ponieważ mogło by nie być sposobu na descramblowanie (odmieszanie) bitów w odbiorniku. Do tego celu używany jest prosty obwód, który generuje dwójkowe cyfry w sposób zdawałoby się losowy, ale którego dane wyjściowe są przewidywalne i powtarzalne , a nazwany jest pseudolosowm sekwencyjnym generatorem ( pseudo-random sequence generator - PRSG ) i składa się z taktowanego rejestru przesuwającego z jednymi albo więcej wyjściem, które jest ponownie dołączone do jego wejścia . Przykład poniżej prezentuje układ skramblera zbudowanego z rejestru przesuwającego 9-bitowego, z wyprowadzeniem między piątą i szóstą komórką dołączonym do jednego wejścia bramki ExOR , krórej drugie wejście pochodzi z końcowej komórki rejestru . Sekwencja bitów rozpocznie sią od 0000 0111 1011 itd. i będzie kontynuowana dla 511 kolejnych bitów , tak więc przebiega niemal półtora razu podczas trwania każdej ramki.

Taki PRSG jest używany zarówno w nadajniku jak i odbiorniku . Każdy jest ponownie ustawiany na 111111111 po ostatnim bicie słowa wyrównania ramki , które nie jest skramblowane, dzięki czemu PRSG pracuje w synchroniźmie przez resztę ramki . Sekwencja PRSG jest dodawana 'modulo dwa' do strumienia danych na jego drodze do modulatora (modulo-dwa = działanie bramki ExOR ) .
8)
MODULACJA I NADAWANIE
Istnieje wiele sposobów modulacji fali nośnej. Najbardziej znaną jest modulacja amplitudy stosowana powszechnie w telewizji i radiu, oraz modulacja częstotliwości używana w TV satelitarnej, fonii TV oraz radiu FM.
Sygnał cyfrowy posiada tylko 2 stany –
1 i 0. Z punktu widzenia szerokości zajmowanego pasma przenoszenia najbardziej
ekonomiczną metoda modulacji dla takiego sygnału jest modulacja fazy.
Najprostszą z wersji modulacji fazowej jest dwufazowa gdzie np. 1 nie przesuwa
fazy nośnej a 0 przesuwa fazę o 180°. Metoda ta jest łatwa do detekcji w
odbiorniku. Wąskie pasmo przenoszenia zachowane jest jeszcze przy modulacji 4
fazowej gdzie nośna ma 4 możliwe stany : 0°,90°,180°,270°. I właśnie ten rodzaj modulacji, zwanej
kwadraturową (DQPSK – różnicowe kwadraturowe przełączanie fazy ), stosowany
jest dla NICAM.
W
nadajniku konwerter szeregowo-równoległy zamienia szeregowe dane w serie
2-bitowych par. Pary te mogą przybierać 4 formy: 00,01,10,11. Każda z nich
przesuwa fazę w inny sposób :
00-0°
01 -90°
10 -270°
11 -180°.
Zmiana
fazy przy 2-bitowe przedziałach ogromnie redukuje pasmo przenoszenia w porównaniu
do sytuacji, gdy zmiana ta miałaby następować za każdym bitem.
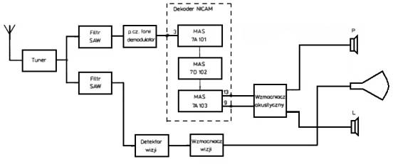
IV.
Tor fonii telewizora z dekoderem NICAM.
|
|
|
Rys.2
Schemat blokowy toru fonii telewizora z dekoderem NICAM. |
Na rys. 2 jest przedstawiony schemat blokowy toru fonii typowego telewizora wyposażonego w dekoder dźwięku NICAM. Składa się on z tunera, demodulatora QPSK, dekodera NICAM‚ przetworników C/A, filtrów, wzmacniaczy akustycznych i zasilacza.
Sygnał
pośredniej częstotliwości fonii z wyjścia filtru SAW jest doprowadzany do
demodulatora, który wytwarza dwie podnośne dźwięku: FM -6,5 MHz (dźwięk monofoniczny)
oraz NICAM -5,85 MHz. Sygnał cyfrowy fonii po przejściu przez odpowiedni filtr
jest doprowadzany do demodulatora fazy DQPSK, na wyjściu którego otrzymuje się
sygnał w postaci 10-bitowej. Następnie demultiplekser NICAM przetwarza
dostarczone dane i w postaci 14-bitowej przesyła je do przetwornika
cyfrowo-analogowego C/A, z którego otrzymuje się pierwotny analogowy sygnał
stereofoniczny.
Sercem części odbiorczej tego systemu
jest dekoder sygnałów cyfrowych. On to odtwarza pierwotną postać danych
wprowadzanych do nadajnika poprzez
-wydzielenie
podnośnej NICAM,
-zdemodulowanie
sygnału DQPSK i odtworzenie ciągu danych,
-wydzielenie
słowa synchronizującego,
-zdeskramblowanie
danych,
-ustawienie
bitów w odpowiedniej kolejności ( deinterleaving),
-odtworzenie
próbek 14-bitowych z 11-bitowych i ustawienie ich w odpowiednim ciągu,
-rozdzielenie
kanałów A i B,
-przetworzenie
sygnałów cyfrowych na analogowe,
-wzmocnienie
i odfiltrowanie sygnałów A B.
Przykład odbiornika systemu
NICAM na układach scalonych firmy ‘MICRONAS’.
Odbiornik
systemu NICAM (rys.3) jest skonstruowany z trzech układów scalonych,
pracujących jako:
1.
demodulator
sygnału QPSK - układ MAS7A101,
2.
dekoder
sygnału NICAM - układ MAS7D1O2,
3.
przetwornik
c/a - układ MAS7A1O3.
|
|
Rys.3 Zastosowanie układów scalonych MAS jako dekoder NICAM
|
|
|
|
Rys.4
Struktura demodulatora QPSK – MAS7A101 a) schemat funkcjonalny b) rozmieszczenie wyprowadzeń |
Strukturę wewnętrzną i
rozkład wyprowadzeń układu MAS7A1O1 przedstawiono na rys. 4. Układ ten realizuje
kilka bardzo skomplikowanych funkcji zwanych detekcją koherentną sygnału QPSK.
Na
wejście 3 jest doprowadzany przebieg DQPSK, który jest mnożony przez dwa
przesunięte względem siebie o 90° przebiegi o częstotliwości
cztery razy większej niż częstotliwość podnośna NICAM. W stanie ustalonym faza
przebiegu odniesienia (przed przesunięciem o ± 45°) odpowiada fazie przebiegu
odniesienia w nadajniku. W wyniku mnożenia uzyskuje się dwa przebiegi ściśle
związane z przebiegami I i
Q z nadajnika. Przebiegi te
występują na wyjściach 11 i 14 i są doprowadzane na tzw. pętlę Costasa, która
umożliwia wydzielenie z nich sygnału błędu, zależnego od różnicy między fazą
oscylatora odniesienia VCXO1, a fazą odniesienia odbieranej podnośnej NICAM.
Układ pracuje jak pętla synchronizacji fazowej PLL z tą różnicą, że odzyskiwana
jest nie tylko częstotliwość, ale i faza wzorcowa sygnału wejściowego.
Tak
otrzymane przebiegi I i
Q są rozdzielane na dwa tory
(oprócz pętli Costasa), a mianowicie:
-
na
dekoder i układ decyzyjny. Następnie zamieniane są na szeregową sekwencję
danych bitowych transmitowanych z prędkością
728 kb/s (odpowiadających danym podawanym na wejście modulatora NICAM w
nadajniku) i podawane na wyjście demodulatora (wyjście 22).
-
tor
służący do odzyskania z przebiegów
I i Q sygnałów zegara
bitowego 728 kHz i zegara systemowego 5,824 MHz. Tor ten obejmuje układy
przedstawione na rys. 4 poniżej FDP3.
|
|
|
Rys.5
Struktura dekodera NICAM MAS7D102 a) schemat
funkcjonalny b) rozmieszczenie wyprowadzeń |
Z punktu widzenia systemu,
sercem tego odbiornika jest układ scalony MAS7D1O2, czyli dekoder sygnału
NICAM. Układ ten wykorzystuje trzy sygnały uzyskiwane z demodulatora DQPSK:
-
szeregowy
ciąg danych 728 kb/s (wejście 7 - DATA),
-
zegar
bitowy 728 kHz (wejście 9-BIT CLOCK),
-
zegar
systemowy 5,824 MHz (wejście 8 - SYS CLK).
Proces
dekodowania obejmuje wiele operacji, a mianowicie:
-
wydzielenie
słowa synchronizującego,
-
deskramblowanie,
-
deinterleaving
(ustawienie bitów w pierwotnej kolejności),
-
detekcję
i korekcję błędów,
-
odzyskanie
informacji systemowych,
-
odtworzenie
próbek 14-bitowych z 11-bitowych w obu kanałach A i B
-
wypracowanie
sygnałów sterujących i informacyjnych do przetwornika A/C.
Dekoder wypracowuje sygnały sterujące do
‘inteligentnego’ przetwornika C/A (MAS7A103). Sygnały te mogą być
zaprogramowane dla jednego z trzech wariantów szyny C/A, tzn. I²S (Philips), S bus (ITT) i DAC bus (Toshiba). Działanie tego układu można
przedstawić, w skrócie, następująco.
Zdemodulowany
sygnał cyfrowy 728 kb/s z demodulatora DQPSK jest doprowadzany do wejścia 7,
skąd jest rozdzielany do układów logiki synchronizacji wydzielającej słowo
synchronizujące oraz do deskramblera. Słowo synchronizujące nie jest skramblowane
i dzięki temu może być zdekodowane; służy do synchronizowania wszystkich
operacji od deskramblowania poczynając.
Deskramblowanie - polega na ustawieniu klucza (sekwencji początkowej
generatora ciągu pseudolsoweg) i wystartowaniu generatora pod koniec słowa
synchronizującego.
Po włączeniu zasilania w dekoderze jest
ustawiane automatycznie słowo inicjujące równe "11111111", które
umożliwia odbiór audycji nieszyfrowanych. W przypadku transmisji szyfrowanych
potrzebne jest albo opłacenie abonamentu, i wtedy klucz może być zmieniany
automatycznie w czasie transmisji, albo przez zewnętrzne wprowadzenie
odpowiedniego (znanego) klucza przez wejście 6- DS DATA. Układ MAS7D102 realizuje
podane wyżej funkcje i wysyła do określonych wyjść sygnały informacyjne (np. o
rodzaju transmisji i błędach) oraz sygnały sterujące umożliwiające, np.
wyciszenie odbioru przy dużych błędach. Umożliwia też wybranie odpowiedniego
kanału przy transmisjach dwujęzycznych. Dekoder NICAM steruje przetwornikiem
C/A za pomocą trzech sygnałów:
1.
dane
wyjściowe - D DATA (wyjście 29),
2.
zegar
wyjściowy - D CLK (wyjście 28) zależny od typu szyny,
3.
dentyfikacja
kanału - D CHAN (wyjście 30). Sygnały te są przesyłane do przetwornika c/a w
wybranym wcześniej formacie (Philips, Toshiba lub ITT).
|
|
|
Rys.6
Struktura przetwornika c/a
NICAM - MAS7A103 a) schemat funkcjonalny b) rozmieszczenie wyprowadzeń. |
Właściwe rozdzielenie sygnału cyfrowego
na kanały A i B oraz zamiana próbek cyfrowych na sygnały analogowe odbywa się w
układzie MAS7A103, którego strukturę przedstawiono na rys. 6. Pierwszym
zadaniem tego układu jest rozdzielenie 14-bitowych próbek dźwiękowych na dwa oddzielne
kanały A i B według zadanego formatu szyny. Następnie układ zamienia cyfrowe
próbki na sygnały analogowe za pomocą drabinek rezystorowych R-2R, które
stanowią źródło prądowe, a nie napięciowe i dlatego, w celu wysterowania
właściwych zewnętrznych wzmacniaczy napięciowych trzeba dołączyć do wyjść 9 i
13 dwa wzmacniacze operacyjne jako konwertery prądowo-napięciowe. Oprócz
przetwornika C/A powinny się jeszcze znaleźć filtry dolnoprzepustowe filtrujące
sygnał próbkujący 32 kHz oraz układy deemfazy. Wyjścia 9 i 13 układu MAS7A103
są oznaczone jako LI01 i RI01, czyli lewy i prawy.